| 什么是袋式除尘?/span> |
袋式除尘器是一种高效干式除尘器。它是依靠纤维滤料做成的滤袋,更主要的是通过滤袋表面上形成的粉尘层来净化气体的,它适用于捕集细小、干燥、非纤维性粉尘。在各种除尘装置中,袋式除尘器是滤尘效率很高的一种,几乎在各种情况下,滤尘效率都可以达到99%以上。如设计、制造、安装运行得当,特别是维护管理适当,则不难使其除尘效率达到99.9%。在许多情况下,袋式除尘器的排尘浓度可以达到每立方米数十毫克,甚?.1 mg/m3以下。因此,有时可以将袋式除尘器排气送回车间内部循环使用,节省了为补给空气加热或冷却的能耗和费用。当然,如果在设计、选用不当或操作管理不善的情况下,袋式除尘器的排尘浓度也会达到很高数值、/span>
| 袋式除尘器的工作原理与除尘机刵/span> |
袋式除尘器主要由过滤装置、清灰装置和清灰控制装置组成。当含尘气体通过滤料时,主要依靠纤维的筛滤、拦截、碰撞、扩散和静电吸引等效应将粉尘阻留在滤料上,形成粉尘初层,见图(1)。稳定的粉尘初层形成之前,滤料的除尘效率通常只有50%?0%。目前使用的覆膜滤料、复合纤维滤料,在滤料底布表面复合一层微细孔隙的滤层,相当于一次粉尘层,使亚微米以上的粉尘阻留在滤料表面、br/>
![]() |
| ?1) 滤袋表面粉尘示意国/span> |
袋式除尘器的滤尘机制包括筛分、惯性碰撞、拦截、扩散、静电及重力作用等。筛分作用是袋式除尘器的主要滤尘机制之一。当粉尘粒径大于滤料中纤维间孔隙或滤料上沉积的粉尘间的孔隙时,粉尘即被筛滤下来。通常的织物滤布,由于纤维间的孔隙远大于粉尘粒径,所以刚开始过滤时,筛分作用很小,主要是纤维滤尘机制——惯性碰撞、拦截、扩散和静电作用。但是当滤布上逐渐形成了一层粉尘粘附层后,则碰撞、扩散等作用变得很小,而是主要靠筛分作用、/span>
一般粉尘或滤料可能带有电荷,当两者带有异性电荷时,则静电吸引作用显现出来,使滤尘效率提高,但却使清灰变得困难。不断有人试验使滤布或粉尘带电的方法,强化静电作用,以便提高对微粒的滤尘效率。重力作用只是对相当大的粒子才起作用。惯性碰撞、拦截及扩散作用,应随纤维直径和滤料的孔隙减小而增大,所以滤料的纤维愈细、愈密实,滤尘效果愈好、/span>
| 袋式除尘器的主要分类 |
1、机械振动类袋式除尘?/strong>
这种以表面过滤为主的滤袋,对深度过滤的粉尘清灰几乎没效果。实际使用时宜采用较低的过滤风速。利用手动、电动或气动的机械装置使滤袋振动清灰。清灰时一般停止过滤,有的还辅以反向气流,箱体多做成分室结构,顺次逐室清灰。如?2)、/span>
![]() |
| ?2) 1-净气室; 2-尘气宣 3-支架; 4-排灰阀; 5-松 6-滤袋; 7-振动电机; 8-振动传动装置; 9-检查门; 10-出风叢 11-进风叢/span> |
机械振动类袋式除尘器动态示意图如下、/span>

根据振动方式不同,可分为水平振动、垂直振动、扭曲振动三种形式,如下图所示、/span>

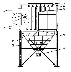
2、气流反吹类袋式除尘?/strong>
利用与过滤气流反向的气流,使滤袋形状发生凹、凸变化而抖落粉尘。反向气流由除尘器前后的压差产生,或由反吹风机供给。设置气流脉动机构脉冲喷吹反向气流,增加清灰力。气流反吹类袋式除尘器有回转反吹扁袋除尘器、回转脉动反吹扁袋除尘器和大型负压反??风袋式除尘器等多种,下面就大型负压反??风袋式除尘器介绍其工作原理图,见?3)、/span>
|
| ?3)1-进风叢 2-滤袋清灰状? 3-反吸风口; 4-反吸风管; 5-二次阀; 6-排风叢 7-一次阀; 8-滤袋过滤状? 9-出风叢 10-排灰阀; 11-进风箠 12-上箱佒 13-灰斗 |
|
| 逆气流吹风清灰袋式除尘器 |
它采用下进风上排风内滤式结构,分有若干个独立的滤袋室。每个滤袋室上面有排风口和反??风口各一个,分别装有一次阀和反吸风阀?二次阀)。排风口通过管道连接除尘风机,反吸风口通过反吸风管与大气相通。含尘气体从除尘器下?灰斗)进入。质量较大的尘粒在惯性和重力的作用下直接落入灰斗,其余的粉尘随气流经过滤袋时,被捕集下来附在滤袋的内表面并使其阻力上升,阻力上升到设定值时对除尘器进行清灰。分室清灰,清灰时关闭滤袋室一次阀,打开二次阀,通过反吸风管吸入大气形成清灰气流,使鼓胀的滤袋突然变瘪而抖落滤袋内表面粉尘,然后透过滤袋经进风口被吸入到其他滤袋室、/span>
正常工作时含尘气体由内向外通过滤袋,滤袋呈膨胀状态。清灰时清灰气流从滤袋外侧被吸入(或被吹入)使滤袋变瘪。一次阀和二次阀交替开关几次,完成滤袋的清灰。滤袋只处于“膨胀一吸瘪”两个状态,适用于粉尘较粗、比重较大的尘粒。在两状态清灰的基础上,在滤袋吸瘪动作结束后增加一段自然沉降时间,使滤袋处于“膨胀一吸瘪一沉降”三个状态,则适用于粒度较小、密度较轻粉尘、/span>
反吸(?气体采用系统自身内部气体循环时有如下优点:有利于防止滤袋或除尘器壁出现结露、糊袋现象。避免因反吸风口设置不当而将潮湿气体或雨水吸入除尘器内。利用除尘系统风机压力,获得较强的清灰气流。缺点:连接管道要多消耗一部分材料、/span>
大型反吸(?风袋式除尘袋式除尘器处理风量可从每小时几万立方米到几十万立方米、/span>
3、脉冲喷吹类袋式除尘?/strong>
在滤袋内设有袋笼(骨架),防止负压运行时把滤袋吸瘪。每条滤袋的出风口处均设一个文氏管。每排文氏管上方设有一条开有小孔的喷吹管,小孔对准文氏管喷吹压缩空气,同时诱导周围的空气进入滤袋内进行清灰。含尘气体进人下箱体一部分颗粒粗、密度大的尘粒在重力作用下直接沉降下来,粒度细、密度小的尘粒随气流进入中箱体后沉积在滤袋外表面,净化后的气体进入净气室通过风机排入大气。滤袋阻力增加到一定值时进行清灰,此时脉冲控制仪(或PLC)控制脉冲阀按设定的顺序和周期启闭。脉冲阀开启时,气包内的压缩空气通过脉冲阀经喷吹管上的喷吹孔,向文氏管喷射出一股高速高压的引射气流(不超?.2s),在文氏管喉口处产生负压,形成一股数倍于引射气体的诱导气流,一同进入滤袋内,使滤袋内出现瞬间正压而急剧膨胀。反吹气流由里向外穿过滤袋,使沉积在滤袋外表面上的粉尘脱落,掉人灰斗内。掉入灰斗内的粉尘经排灰阀排出。采用在线少量滤袋清灰时不分室喷吹方式。采用离线停风喷吹滤袋清灰时,净气室为分室结构,逐室进行滤袋清灰,如?4)。脉冲喷吹类袋式除尘器清灰能力最强,压力损失低,近年来发展迅速、/span>
|
| ?4) 1-上盖松 2-上箱佒 3-脉冲阀; 4-气包; 5-喷吹箠 6-文氏箠 7-出气叢 8-花板; 9-袋笼; 10-滤袋; 11-中箱佒 12-进气叢 13-灰斗; 14-检查门; 15-支架; 16-平台; 17-压力讠 18-脉冲控制阀; 19-排灰阀 |
![]() |
| 脉冲喷吹清灰方式袋式除尘?/span> |
| 影响袋式除尘器除尘效果的因素 |
1、滤袋的透气?/strong>
滤布必须有合适的孔隙,允许空气顺利通过而阻挡细小的粉尘进入滤布内部。细小颗粒的粉尘一旦进入滤布内部,就无法将其清除,造成滤布透气性能大大下降,除尘阻力增大,甚至滤袋无法再使用。这也是为什么除尘器滤袋纤维直径要求较细、滤布较“密实”的原因。虽然细纤维制成的滤布价格较高,刚开始使用时过滤阻力较大,但在整个使用期比较稳定,使用寿命长。当然,现在已有了防止粉尘进入滤布内部而透气性能又不降低的新型材料,比如在滤袋与粉尘接触表面喷涂或覆盖一层超薄氟化树脂微孔膜。惰性树脂是完全疏水的,光滑的表面不但不会粘上粉尘,而且对含水率较高的粉尘也会大大降低由粘附产生糊袋现象。也有用专用处理粉剂喷涂滤袋表面,使之表面形成极薄的滤饼,使孔隙度比较均匀、细小。对滤布表面进行压光或烧结等特殊工艺处理,也可以达到同样的目的。三?防油、防水、防静电)滤布在炭黑除尘行业得到较广泛的应用、/span>
总之,在选择滤袋材料时,最好参考相关资料或请教专业生产厂和专家。现在滤袋生产厂很多,品种差异大,价格差异也大,从十几元/m2到几百元/m2。在选择滤袋时要综合考虑价格、使用寿命和处理物料的物性。特别是外购除尘器时不能单纯考虑价格,还必须考虑其配置和材料。有的滤袋处理某种粉尘有效,但对其他粉尘可能不是最佳、/span>
滤布结构可以是毡制的或编织的。大多数毡制品由于纤维间的毛细作用会吸潮,但一些特殊的毡制品比如玻璃纤维针织毡可以在一定程度上防潮。毡制品纤维的不规则排列,孔隙均匀,同时为了保证其强度,滤袋厚度较厚,除尘效率高。在一些重要场合或粉尘细的物料,特别是具有较高表面气流速度的除尘器滤袋经常采用。炭黑气力输送用的除尘器滤袋多数采用毡制品、/span>
编织的纤维织品是用纺纱编织而成的。纺纱间有各种花纹的孔隙,表面光洁,容易设计成可以保持或脱离滤饼的滤布。为了进一步提高表面性能,可以用硅酮树脂喷涂,获得耐磨表面、改进滤饼的脱离或降低滤袋的吸潮能力。对熔点低、粘附性大的各种化学药品最好采用编织纤维的滤袋。橡胶厂的各种小药可以采用这类滤袋、/span>
2、过滤速度
过滤速度是代表袋式除尘器处理气体能力的重要技术经济指标,同时,过滤速度对捕集效率亦有显著影响。实验证明,过滤速度增大一倍,粉尘通过率可能增?倍甚?倍以上。下图为出口含尘浓度与过滤速度的关系、/span>

可见,刚清灰后,由于滤料上的粉尘大部分被清除,致使捕集效率短期显著下降,随着积尘量的增加,效率不断增加,压降也增加,至清灰前效率最高。过滤速度高还会导致滤料上迅速形成粉尘层,引起清灰频繁,因此,通常总是希望过滤速度选择得低一些、/span>
在参考除尘器样本时一定要注意除尘器的过滤风速和处理风量,样本中给出的过滤风速和处理风量是一般性粉?比如沙尘、煤灰等)。由于这些粉尘粘性小,堆积密度大,颗粒尺寸大,清灰容易,过滤风速和风量较大,一般过滤风速可??m/min。对于橡胶厂使用的炭黑,粘性大,容易产生静电,堆积密度小,粉尘细,它的除尘、清灰比较困难,要求过滤风速较小。一般炭黑气力输送用的脉冲袋式除尘器过滤风?.8?.5m/min,车间总除尘过滤风?lt;2.0m/min。采用振打、风机清灰过滤风?m/min以下、/span>
3、清灰性能
通常滤料上沉积的粉尘负荷量为0.1?.3kg/m2,压降达1000?500Pa时,即需要进行清灰。一般滤袋阻力达?50mmH2O(2500Pa)要求更换滤袋、span style="FONT-FAMILY: 宋体">下图为织布滤料状态与除尘效率、/span>
|
| 织布滤料状态与除尘效率 1-积尘滤料; 2-振打后滤斘 3-清洁滤料 |
由于粉尘和滤料的性质不同,清灰的难易程度是千差万别的。织物比毛毡滤料容易清灰,粗粉尘比细粉尘容易清灰。清灰后应保留的残余附着?亦称初始粉尘?与总粉尘负荷重量比是衡量清灰性能的定量指标。为简化起见,可取一定过滤速度下清灰前后的压力降比(称为清灰残留?来表示、/span>
不同的清灰方式效果也各不相同。一般机械清灰比逆气流清灰效果好,但滤布损坏较严重。对于粘性大、倾注密度小的粉尘,必须在清灰的时候停止风机的抽吸(停风机或关闭阀?,否则清灰不彻底甚至无法清灰。脉冲清灰是目前主要的清灰方式,是各种清灰方式中过滤速度最高的。脉冲分室反吹清灰可以防止粉尘的二次污染,清灰效果更好。但脉冲分室反吹清灰结构复杂,制造成本高,维修费用大。风机分室反吹清灰效果没有脉冲清灰效率高,要求其过滤风速要比脉冲清灰的过滤风速小,但由于结构简单,风机使用寿命一般高于脉冲阀,对于大型除尘器(比如车间总除?采用风机分室反吹可以大大降低投资成本,维修费用也可降低、/span>
对于新除尘滤袋的车间总除尘器,若用新的密炼机或密炼机进行了大修,由于密炼机内部清洗油、防锈油较多,此时使用除尘器很容易造成糊袋现象,使滤袋彻底报废。为了可靠起见,建议在调试或用户在密炼机工作前开启除尘器和风机,人工在密炼机加料口加炭黑使其进入滤袋表面,在滤袋表面形成滤饼,防止油、汽对新滤袋的直接接触,以免引起糊袋、/span>
4、喷吹压劚/strong>
喷吹压力是指脉冲喷吹的压缩空气压力,喷吹压力越大,诱导的二次气流越多,形成的反吹气速越大,清灰效果越好,袋滤器压降下降越明显。在袋式除尘器压降限定后,喷吹压力越高,处理能力越大。在喷吹间隔及喷吹时间不变的情况下,喷吹压力增加,允许入口含尘浓度可以相应提高。但喷吹压力过高,也会出现过度清灰现象,反而影响净化效率,即袋式除尘器出现瞬间“冒灰”现象,同时耗气量增加,浪费能源。由此可见,喷吹压力过低或过高都会影响过滤效果、/span>
试验表明,压缩空气的压力相当大的一部分消耗在克服喷吹系统本身的阻力上,其数值可?.2MPa以上,其中脉冲阀的阻力占很大部分。近年来出现几种低阻脉冲阀,如直通脉冲阀和双膜片低压脉冲阀等,由于其内阻降低很多,也使喷吹压力相应降低,即低压喷吹系统。喷吹压力最低可?.2?.3MPa。此外,加大气包及喷吹管直径,以喷嘴代替喷孔等均可降低喷吹压力。喷吹压力除了考虑脉冲阀阻力外,还应考虑滤袋长度,短滤袋采用低的喷吹压力,长除尘布袋喷吹压力要相应增大。对于滤袋长?000mm、低压直通脉冲阀,喷吹压?.45?.55MPa。扁袋除尘器一般采用高压角式脉冲阀,喷吹压力可适当提高?.6MPa、/span>
5、喷吹间隓/strong>
喷吹间隔的长短直接影响到除尘器的压降。对采用定时控制的脉冲袋式除尘器,喷吹间隔由脉冲控制仪设定,定时喷吹(开环控?。通过调整脉冲间隔,可使除尘器压降基本保持稳定状态下运行。在不影响正常运行的条件下,应尽量延长脉冲间隔,这样可以减少压缩空气耗量,还可以减少脉冲阀膜片及滤袋的损坏,延长使用寿命。延长喷吹间隔,喷吹系统耗电量虽然少了,但由于除尘器压降增加过多,会增加引风机的耗电量。炭黑气力输送除尘器喷吹间隔一般在12?5s,车间总除尘喷吹间隔可以在20?5s、/span>
6、喷吹时闳/strong>
喷吹时间(又称脉冲宽度)即脉冲阀开启喷吹的时间。一般喷吹时间越长,喷入滤袋内的压缩空气量也越多,清灰效果好。但喷吹时间增加到一定值后,对清灰效果的影响并不明显、/span>
7、压缩空气耗量
压缩空气耗量主要取决于喷吹压力、喷吹周期、喷吹时间、脉冲阀型式和口径以及滤袋数等因素、/span>
| 袋式除尘器选型原则 |
1、处理风野/strong>
袋式除尘器的处理风量必须满足系统设计风量的要求,并考虑管道漏风系数。系统风量波动时,应按最高风量选用袋式除尘器。高温烟气中应按烟气温度折算到工况风量来选用袋式除尘器、/span>
2、使用温?/strong>
袋式除尘器的使用温度受以下两个条件的制约、/span>
(1)滤料材质所允许的长期使用温度和短期最高使用温度,一般应按长期使用温度采取、/span>
(2)为防止结露,烟气温度所允许的最低限度,一般应保持除尘器内的烟气温度高于露?5?0℃、/span>
对于高温尘源,必须将含尘气体冷却至滤料能承受的温度以下。在高温烟气中往往含有大量水分子和SOx,鉴于SOx的酸露点较高,这时确定袋式除尘器的使用温度时,应予特别的注意、/span>
在净化温度接近露点的高温气体时,应以间接加热或混入高温气体等方法降低气体的相对湿度,以防结露,影响袋式除尘器的使用、/span>
3、气体的组成
气体的含水量,决定了露点的高低、/span>
在考虑被处理气体中含有可燃性、腐蚀性以及有毒性气体时,必须掌握气体的化学成分。而一般情况下,则可按照处理空气来选用袋式除尘器、/span>
对于可燃性气体,如CO等,当其与氧共存时,有可能构成爆炸性混合物。若不在爆炸界限之内,可直接使用袋式除尘器,但应采用气密性高的结构,并采取防爆措施及选用电阻低的滤料。若达到爆炸界限,则应在进入除尘器前设置辅助燃烧器,待气体完全燃烧并经冷却后,才能进入袋式除尘器、/span>
对于腐蚀性气体,如氧化硫、氯及氯化氢、氟及氟化氢、磷酸气体等,需根据腐蚀气体的种类选择滤料、壳体材质及防腐方法等、/span>
4、烟气含尘浓?/strong>
烟气的入口含尘浓度对袋式除尘器的压力损失和清灰周期、滤料和箱体的磨损及排灰装置的能力等均有较大影响,浓度过大时应设预除尘、/span>
5、粉尘特?/strong>
(1) 附着性和凝聚性——这一属性对袋式除尘器的清灰效果和除尘效果有较大影响、/span>
(2) 粒径分布——粉尘中的细微部分对于袋式除尘器的除尘效果和压力损失影响较突出;而在入口含尘浓度高和粉尘硬度大时,粗颗粒粉尘对滤料和壳体等的磨损影响较显著、/span>
(3 )粒子形状——通常在过滤特殊形状的粉尘时,才考虑此因素。例如纤维性粉尘,因容易凝聚成絮状物而难以被清离滤袋,因而袋式除尘器应采用外滤式,适当降低过滤风速,并采用特殊清灰措施、/span>
(4) 粒子的密度——粉尘假密度越小,清灰便越困难,因而必须适当降低过滤风速。此外,假密度直接影响卸灰装置的能力、/span>
(5) 吸湿性和潮解性——具有较强吸湿性和潮解性的粉尘,极易在滤袋表面吸湿而固化或潮解成稠状物,致使袋式除尘器压力损失增大而不能工作。在过滤这些粉尘时,必须采取包括加热保温在内的措施、/span>
(6) 磨啄性——磨啄性强的粉尘系指硬度高且粒度粗的粉尘,它们容易磨损滤袋和壳体等,应设法防止或减轻其危害、/span>
(7) 带电性——容易带电的粉尘常使清灰困难,因而选择过滤风速必须适当。若粉尘可能因静电发生的火花而引起爆炸,则应采取防静电措施、/span>
(8) 爆炸性、可燃性——爆炸性粉尘应采取防爆防火措施、/span>
6、设备阻劚/strong>
每一类袋式除尘器都有其一定的阻力范围。但选用时可能需根据风机能力等因素做适当的变动。此时应对过滤风速、清灰周期做相应的调整、/span>
7、工作压劚/strong>
一般情况下,要求袋式除尘器的耐压度为3000?000Pa(?00?00mmH2O),当采用罗茨鼓风机为动力时,要求耐压度为15000?0000Pa(?500?000mmH2O),在少数场合(例如高炉煤气净?,要求的耐压度超?05Pa、/span>
8、工作环墂/strong>
室外安装袋式除尘器时,应考虑相应的电气系统及采取防雨措施、/span>
袋式除尘器设在有腐蚀性的气体或粉尘的环境中,或者在海岸近旁或船上,则应仔细选择除尘器的结构材质和防腐涂层、/span>
袋式除尘器用于寒冷地带,若以压缩空气清灰或采用气缸驱动的切换阀时,必须防止压缩空气中的水分冻结,以免运转失灵、/span>