[ 登录] [ 免费注册]
试剂仪器? title=
位置9a href="/">首页> 实用资料
袋式除尘器详觢/div>
2016.09.18 点击2096欠/div>

一、袋式除尘器的工作原琅/strong>  
袋式除尘器主要由过滤装置、清灰装置和清灰控制装置组成。当含尘气体通过滤料时,主要依靠纤维的筛滤、拦截、碰撞、扩散和静电吸引等效应将粉尘阻留在滤料上,形成粉尘初层,见下图。稳定的粉尘初层形成之前,滤料的除尘效率通常只有50%?0%。目前使用的覆膜滤料、复合纤维滤料,在滤料底布表面复合一层微细孔隙的滤层,相当于一次粉尘层,使亚微米以上的粉尘阻留在滤料表面、/span>

滤袋表面粉尘层示意图

  
二、袋式除尘器的主要类垊/strong>  
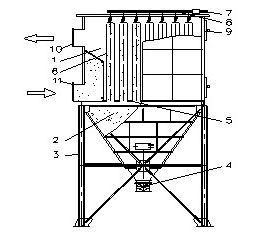
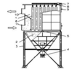
1、机械振动类袋式除尘器以表面过滤为主的滤袋,对深度过滤的粉尘清灰几乎没效果。实际使用时宜采用较低的过滤风速。利用手动、电动或气动的机械装置使滤袋振动清灰。清灰时一般停止过滤,有的还辅以反向气流,箱体多做成分室结构,顺次逐室清灰。如下图、/span>

振动清灰除尘器示意图
1-净气室 2-尘气?nbsp; 3-支架 4-排灰阀 5-?nbsp; 6-滤袋
7-振动电机 8-振动传动装置 9-检查门 10-出风?nbsp; 11-进风叢/span>

2、气流反吹类袋式除尘器利用与过滤气流反向的气流,使滤袋形状发生凹、凸变化而抖落粉尘。反向气流由除尘器前后的压差产生,或由反吹风机供给。设置气流脉动机构脉冲喷吹反向气流,增加清灰力。气流反吹类袋式除尘器有回转反吹扁袋除尘器、回转脉动反吹扁袋除尘器和大型负压反??风袋式除尘器等多种,下图为大型负压反??风袋式除尘器的工作原理图、/span>

大型负压反吸(?风袋式除尘器示意国br/>1-进风?nbsp; 2-滤袋清灰状?nbsp; 3-反吸风口 4-反吸风管 5-二次阀 6-排风箠br/>7-一次阀 8-滤袋过滤状?nbsp; 9-出风?nbsp; 10-排灰阀 11-进风?nbsp; 12-上箱?nbsp; 13-灰斗

它采用下进风上排风内滤式结构,分有若干个独立的滤袋室。每个滤袋室上面有排风口和反??风口各一个,分别装有一次阀和反吸风阀?二次阀)。排风口通过管道连接除尘风机,反吸风口通过反吸风管与大气相通。含尘气体从除尘器下?灰斗)进入。质量较大的尘粒在惯性和重力的作用下直接落入灰斗,其余的粉尘随气流经过滤袋时,被捕集下来附在滤袋的内表面并使其阻力上升,阻力上升到设定值时对除尘器进行清灰。分室清灰,清灰时关闭滤袋室一次阀,打开二次阀,通过反吸风管吸入大气形成清灰气流,使鼓胀的滤袋突然变瘪而抖落滤袋内表面粉尘,然后透过滤袋经进风口被吸入到其他滤袋室。  
正常工作时含尘气体由内向外通过滤袋,滤袋呈膨胀状态。清灰时清灰气流从滤袋外侧被吸入(或被吹入)使滤袋变瘪。一次阀和二次阀交替开关几次,完成滤袋的清灰。滤袋只处于“膨胀一吸瘪”两个状态,适用于粉尘较粗、比重较大的尘粒。在两状态清灰的基础上,在滤袋吸瘪动作结束后增加一段自然沉降时间,使滤袋处于“膨胀一吸瘪一沉降”三个状态,则适用于粒度较小、密度较轻粉尘。  
反吸(?气体采用系统自身内部气体循环时有如下优点:有利于防止滤袋或除尘器壁出现结露、糊袋现象。避免因反吸风口设置不当而将潮湿气体或雨水吸入除尘器内。利用除尘系统风机压力,获得较强的清灰气流。缺点:连接管道要多消耗一部分材料、br/>  大型反吸(?风袋式除尘袋式除尘器处理风量可从每小时几万立方米到几十万立方米。  
3、脉冲喷吹类袋式除尘器,见下图、/span>

脉冲袋式除尘器示意图
1-上盖?nbsp; 2-上箱?nbsp; 3-脉冲阀 4-气包 5-喷吹箠br/>6-文氏?nbsp; 7-出气?nbsp; 8-花板 9-袋笼 10-滤袋
11-中箱?nbsp; 12-进气?nbsp; 13-灰斗 14-检查门 15-支架
16-平台 17-压力?nbsp; 18-脉冲控制阀 19-排灰阀

在滤袋内设有袋笼(骨架),防止负压运行时把滤袋吸瘪。每条滤袋的出风口处均设一个文氏管。每排文氏管上方设有一条开有小孔的喷吹管,小孔对准文氏管喷吹压缩空气,同时诱导周围的空气进入滤袋内进行清灰。含尘气体进人下箱体一部分颗粒粗、密度大的尘粒在重力作用下直接沉降下来,粒度细、密度小的尘粒随气流进入中箱体后沉积在滤袋外表面,净化后的气体进入净气室通过风机排入大气。滤袋阻力增加到一定值时进行清灰,此时脉冲控制仪(或PLC)控制脉冲阀按设定的顺序和周期启闭。脉冲阀开启时,气包内的压缩空气通过脉冲阀经喷吹管上的喷吹孔,向文氏管喷射出一股高速高压的引射气流(不超?.2s),在文氏管喉口处产生负压,形成一股数倍于引射气体的诱导气流,一同进入滤袋内,使滤袋内出现瞬间正压而急剧膨胀。反吹气流由里向外穿过滤袋,使沉积在滤袋外表面上的粉尘脱落,掉人灰斗内。掉入灰斗内的粉尘经排灰阀排出。采用在线少量滤袋清灰时不分室喷吹方式。采用离线停风喷吹滤袋清灰时,净气室为分室结构,逐室进行滤袋清灰。脉冲喷吹类袋式除尘器清灰能力最强,压力损失低,近年来发展迅速、br/>  
三、袋式除尘器的应用  
1、对?μm以上的尘粒,袋式除尘器效率一般可达到99.5%。小?μm的尘粒中?.2?.4μm尘粒的除尘效率最低,见下图、/span>

织布滤料状态与除尘效率
1-积尘滤料 2-振打后滤?nbsp; 3-清洁滤料

2、按滤料结构有织布滤料、针刺滤料、覆膜滤料、复合纤维滤料、非织物塑料、陶瓷、金属滤料。机织滤料的除尘效率较低。针刺滤料有较高的除尘效率。覆膜滤料对一般粉尘可以获得接近“零排放”。  
3、采用针刺毡或覆膜滤料,入口含尘浓度较低,粉尘颗粒较大、黏性小,且强力脉冲清灰,清灰周期较短时,过滤风速可采用1.5m/min。否则只能采?.0m/min以下风速、br/> 4、过滤风速高时,除尘器过滤面积小,但压力损失、耗电量、滤料磨损增加,运行费用增大。  
5、国内常用的涤纶滤料(208涤纶?29涤轮、涤纶针刺毡)连续使用130℃,瞬时150℃。玻纤织布滤料耐温250?80℃。耐热尼龙(Nomex)针刺毡连续使?00℃,瞬时220℃。陶瓷、金属滤料根据材质不同耐温400℃~600℃、br/>  6、进入袋式除尘器烟气温度必须比露点温度高10?0℃,否则应对烟气进行加热升温,对袋式除尘器进行加热、保温,以及要求炉窑系统有合理的保温措施以及采用本系统净化后的高温烟气反吹、/span>

相关资料
Baidu
map