| 型号: | SS垊/td> |
| 设备种类: | 过滤型离心机 |
| 分离因数: | 302-755 |
| 工作容积: | 10-410L |
SS离心机是利用离心力把悬浮液和乳浊液中的固体和液体组分分离开来的机械,物料在离心力的作用下,将其所含液体经过过滤介质和转鼓壁上的孔被甩到外壳的内壁上,汇集后由滤液出口排出,而固相则留在转鼓内,从而完成离心过滤的分离过程、br/> SS型三足式上部卸料离心机适用于粘度大,亲水性强,难分离的含中细度颗粒状或纤维状物料的悬浮液的分离,也适用于糊状、固状物料分离,广泛应用于化工、医药、纺织和食品脱水
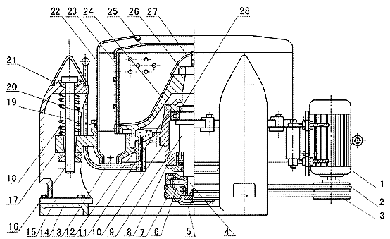
结构与原理:
电动机通过离合器带动转鼓高速旋转,物料由上部加入转鼓,在离心力作用下趋向鼓壁,其中液相穿过滤布和鼓壁滤孔排出,固相截留在转鼓内,停机后人工卸除
离心机结构图9/strong>


技术参数:

订货须知
针对不同的分离要求,我们设计了相应型式供客户选择,因此客户在订货时,可对以下情况作出确认:
驱动方式:普通异步电动机或隔爆型异步电动机等、br/> 机座型式:普通机座或无基础型机座等、br/> 其它要求、/span>